Análisis del desempeño de una torre de enfriamiento a escala de laboratorio para diversos materiales de empaque, temperatura de entrada de agua y relación másica de flujo agua-aire
DOI:
https://doi.org/10.15665/rp.v15i1.820Palabras clave:
Torre de enfriamiento, desempeño, eficiencia, correlación no lineal, Coeficiente volumétrico de transferencia de masa, empaque de torreResumen
En el presente trabajo se realizó el diseño, montaje y puesta en marcha de una torre de enfriamiento a escala de laboratorio de 0.15 m de lado y 1.54 m de alto, adecuada con empaques tipo salpicadura hechos de madera, acrílico, hierro y aluminio, y de tipo película hecho de acrílico. Se evaluó el desempeño de la torre a diferentes relaciones de flujo másico L´/G´ en el rango de 0.2 a1.0, temperaturas de entrada de líquido en el rango 48-40°C y diferentes materiales y geometrías de empaque. Se desarrolló una correlación no lineal del coeficiente volumétrico global de transferencia de masa Kya como función de los diferentes factores estudiados mediante análisis estadístico. Se notó que el desempeño de la torre de enfriamiento mejora en altos valores de Kya y de eficiencia global cuando se realizaron incrementos de la relación L´/G´ operando con empaques que contienen valores bajos de conductividad térmica tal como la madera y el acrílico y usando altos valores de la temperatura del agua de entrada. Un aumento en el área superficial del empaque de un 350% resulta en un incremento en eficiencia hasta de un 30% mostrando la importancia de realizar un análisis de costos de ingenieríaReferencias
S. V. Bedekar, P. Nithiarasu, and K. N. Seetharamu, "Experimental investigation of the performance of a counter-flow, packed-bed mechanical cooling tower," Energy, vol. 23, pp. 943-947, 1998.
W. M. Simpson and T. K. Sherwood, "Performance of small mechanical draft cooling towers," Am Soc Refrig Eng vol. 52, pp. 535–43; 574-576, 1946.
N. W. Kelly and L. K. Swenson, "Comparative performance of cooling tower packing arrangements," Chemical Engineering Progress, vol. 52, 1956.
H. J. Lowe and D. G. Christie. (1961, Aug.). "Heat transfer and pressure drop data on cooling tower packings, and model studies of the resistance of natural draft towers to airflow," presented at the International Heat Transfer Conference, Colorado.
J. C. Kloppers and D. G. Kroger, "Loss coefficient correlation for wet-cooling tower fills," Applied Thermal Engineering, vol. 23, pp. 2201-2211, 2003.
J. C. Kloppers and D. G. Kroger, "Refinement of the Transfer Characteristic Correlation of Wet-Cooling Tower Fills," Heat Transfer Engineering, vol. 26, pp. 035-041, 2005.
F. Gharagheizi, R. Hayati, and S. Fatemi, "Experimental study on the performance of mechanical cooling tower with two types of film packing," Energy Conversion and Management, vol. 48, pp. 277-280, 2007.
J. C. Kloppers and D. G. Kroger, "A critical investigation into the heat and mass transfer analysis of counterflow wet-cooling towers," International Journal of Heat and Mass Transfer, vol. 48, pp. 765-777, 2005/2// 2005.
A. Mirabdolah Lavasani, Z. Namdar Baboli, M. Zamanizadeh, and M. Zareh, "Experimental study on the thermal performance of mechanical cooling tower with rotational splash type packing," Energy Conversion and Management, vol. 87, pp. 530-538, 11// 2014.
T. Ning, D. Chong, M. Jia, J. Wang, and J. Yan, "Experimental investigation on the performance of wet cooling towers with defects in power plants," Applied Thermal Engineering, vol. 78, pp. 228-235, 3/5/ 2015.
P. Shahali, M. Rahmati, S. R. Alavi, and A. Sedaghat, "Experimental study on improving operating conditions of wet cooling towers using various rib numbers of packing," International Journal of Refrigeration, vol. 65, pp. 80-91, 5// 2016.
A. K. M. Mohiuddin and K. Kant, "Knowledge base for the systematic design of wet cooling towers. Part II: selection and tower characteristics," Int. J. Refrig, vol. 19, pp. 52–60, 1996.
F. Merkel, "Evaporative cooling," Journal of the Association of German Engineers, vol. 70, pp. 123-128, 1925.
M. Lemouari, M. Boumaza, and A. Kaabi, "Experimental analysis of heat and mass transfer phenomena in a direct contact evaporative cooling tower," Energy Conversion and Management, vol. 50, pp. 1610-1617, 2009.
J. C. Kloppers, (2003, Dic), "A critical evaluation and refinement of the performance prediction of wet-cooling towers," Doctoral Thesis, University of Stellenbosch.
Descargas
Archivos adicionales
- Certificación de Originalidad y cesión de derechos de autor Luis Obregón, José Pertuz, Rafael Domínguez
- Articulo Analisis del Desempeño de una Torre de Enfriamiento a Escala de Laboratorio
- Figura 1. Dimensiones (en mm) del empaque tipo salpicadura (a) y tipo película (b)
- Figura 2. Empaques tipo salpicadura utilizados en la torre de enfriamiento
- Figura 3. Empaque de acrílico tipo película
- Figura 4. Diagrama de tuberías e instrumentos
- Figura 5. Esquema de empaque de aluminio con interior de vidrio tipo salpicadura
- Figura 6. Comparación de los datos de Kya obtenidos del modelo con los de los datos experimentales
- Figura 7. Efectos principales para Kya
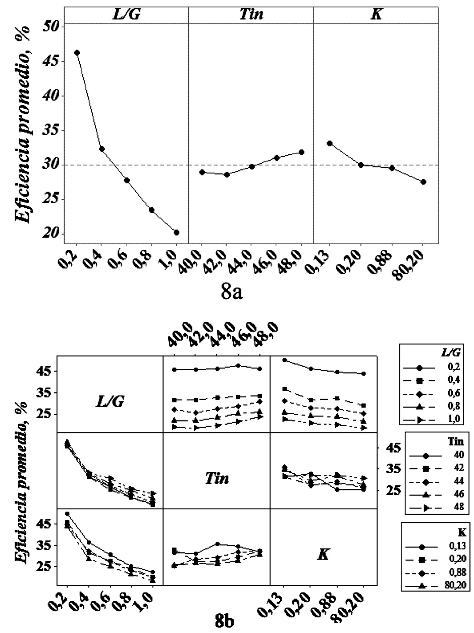
- Figura 8.Gráfica de efectos principales para la eficiencia
- Figura 9. Esquema de la transferencia de calor por conducción en la zona de empaque
- Tabla 1. Condiciones de diseño y altura calculada para la torre de enfriamiento empacada
- Tabla 2. Dimensiones de la torre de enfriamiento
- Tabla 3. Descripción equipos e instrumentación
- Tabla 4. Conductividad térmica para cada material de empaque
- Tabla 5. Factores y niveles estudiados
- Tabla 6. Análisis de varianza de la regresión lineal para log Kya
- Tabla 7. Análisis de varianza para la eficiencia
- Tabla 8. Coeficiente volumétrico global de transferencia de masa Kya y eficiencia promedio para cada tipo de empaque
- Nomenclatura
- Articulo con correcciones arbitro 1
- Articulo con correcciones arbitro 1 y con nombre de autores
Publicado
Número
Sección
Licencia
Los autores/as que publiquen en esta revista aceptan las siguientes condiciones:
- Los autores/as ceden los derechos de autor y dan a la revista el derecho de la primera publicación, con el trabajo registrado con la licencia de atribución de Creative Commons, que permite a terceros utilizar lo publicado siempre que mencionen la autoría del trabajo y a la primera publicación en esta revista.
- Los autores/as pueden realizar otros acuerdos contractuales independientes y adicionales para la distribución no exclusiva de la versión del artículo publicado en esta revista (p. ej., incluirlo en un repositorio institucional o publicarlo en un libro) siempre que indiquen claramente que el trabajo se publicó por primera vez en esta revista.
- Se permite y recomienda a los autores/as a publicar su trabajo en Internet (por ejemplo en páginas institucionales o personales) antes y durante el proceso de revisión y publicación, ya que puede conducir a intercambios productivos y a una mayor y más rápida difusión del trabajo publicado (vea The Effect of Open Access).
Instrucciones para el llenado de la Certificación de Originalidad y la Cesión de Derechos de Autor.
- Haga click aquí y baje el formulario de Certificación de Originalidad y la Cesión de Derechos de Autor.
- En cada uno de los campos para rellenar haga click y complete lo correspondiente.
- Una vez llenos los campos, copie al final su firma escaneada o firma digital. Favor ajustar el tamaño de la firma en el formulario.
- Finalmente, lo puede guardar como pdf y enviarlo a través de la palataforma OJS, como archivo complementario.
Si tiene dudas contáctenos, por favor.
