Análisis del desempeño de una torre de enfriamiento a escala de laboratorio para diversos materiales de empaque, temperatura de entrada de agua y relación másica de flujo agua-aire

Authors

DOI:

https://doi.org/10.15665/rp.v15i1.820

Keywords:

Torre de enfriamiento, desempeño, eficiencia, correlación no lineal, Coeficiente volumétrico de transferencia de masa, empaque de torre

Abstract

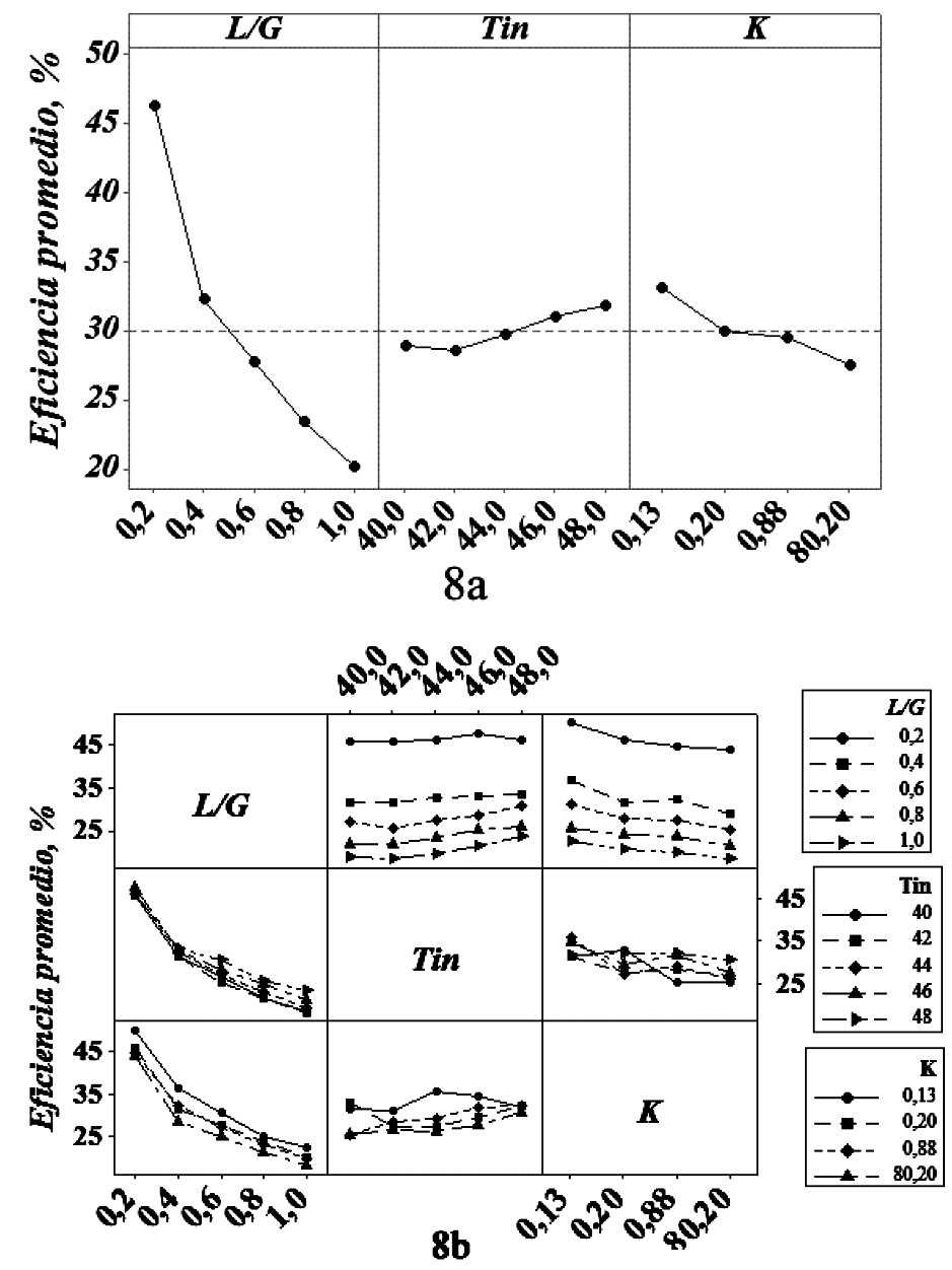
En el presente trabajo se realizó el diseño, montaje y puesta en marcha de una torre de enfriamiento a escala de laboratorio de 0.15 m de lado y 1.54 m de alto, adecuada con empaques tipo salpicadura hechos de madera, acrílico, hierro y aluminio, y de tipo película hecho de acrílico. Se evaluó el desempeño de la torre a diferentes relaciones de flujo másico L´/G´ en el rango de 0.2 a1.0, temperaturas de entrada de líquido en el rango 48-40°C y diferentes materiales y geometrías de empaque. Se desarrolló una correlación no lineal del coeficiente volumétrico global de transferencia de masa Kya como función de los diferentes factores estudiados mediante análisis estadístico. Se notó que el desempeño de la torre de enfriamiento mejora en altos valores de Kya y de eficiencia global cuando se realizaron incrementos de la relación L´/G´ operando con empaques que contienen valores bajos de conductividad térmica tal como la madera y el acrílico y usando altos valores de la temperatura del agua de entrada. Un aumento en el área superficial del empaque de un 350% resulta en un incremento en eficiencia hasta de un 30% mostrando la importancia de realizar un análisis de costos de ingeniería

Author Biographies

  • Luis Guillermo Obregon Quiñones, University of Atlántico, Universidad del Atlántico

    Departamento: Atlántico

    CARGO: Docente tiempo completo Universidad del Atlantico

    Títulos: Doctorado en Ingeniería Química

    Postdoctorado en Ingeniería Química

  • Jose Carlos Pertuz Amaya, University of Atlántico, Universidad del Atlántico

    Departamento: Atlántico

    Cargo: Ingeniero Químico

  • Rafael Alexander Domínguez Rambal, University of Atlántico, Universidad del Atlántico

    Departamento: Atlántico

    Cargo: Ingeniero Químico

References

S. V. Bedekar, P. Nithiarasu, and K. N. Seetharamu, "Experimental investigation of the performance of a counter-flow, packed-bed mechanical cooling tower," Energy, vol. 23, pp. 943-947, 1998.

W. M. Simpson and T. K. Sherwood, "Performance of small mechanical draft cooling towers," Am Soc Refrig Eng vol. 52, pp. 535–43; 574-576, 1946.

N. W. Kelly and L. K. Swenson, "Comparative performance of cooling tower packing arrangements," Chemical Engineering Progress, vol. 52, 1956.

H. J. Lowe and D. G. Christie. (1961, Aug.). "Heat transfer and pressure drop data on cooling tower packings, and model studies of the resistance of natural draft towers to airflow," presented at the International Heat Transfer Conference, Colorado.

J. C. Kloppers and D. G. Kroger, "Loss coefficient correlation for wet-cooling tower fills," Applied Thermal Engineering, vol. 23, pp. 2201-2211, 2003.

J. C. Kloppers and D. G. Kroger, "Refinement of the Transfer Characteristic Correlation of Wet-Cooling Tower Fills," Heat Transfer Engineering, vol. 26, pp. 035-041, 2005.

F. Gharagheizi, R. Hayati, and S. Fatemi, "Experimental study on the performance of mechanical cooling tower with two types of film packing," Energy Conversion and Management, vol. 48, pp. 277-280, 2007.

J. C. Kloppers and D. G. Kroger, "A critical investigation into the heat and mass transfer analysis of counterflow wet-cooling towers," International Journal of Heat and Mass Transfer, vol. 48, pp. 765-777, 2005/2// 2005.

A. Mirabdolah Lavasani, Z. Namdar Baboli, M. Zamanizadeh, and M. Zareh, "Experimental study on the thermal performance of mechanical cooling tower with rotational splash type packing," Energy Conversion and Management, vol. 87, pp. 530-538, 11// 2014.

T. Ning, D. Chong, M. Jia, J. Wang, and J. Yan, "Experimental investigation on the performance of wet cooling towers with defects in power plants," Applied Thermal Engineering, vol. 78, pp. 228-235, 3/5/ 2015.

P. Shahali, M. Rahmati, S. R. Alavi, and A. Sedaghat, "Experimental study on improving operating conditions of wet cooling towers using various rib numbers of packing," International Journal of Refrigeration, vol. 65, pp. 80-91, 5// 2016.

A. K. M. Mohiuddin and K. Kant, "Knowledge base for the systematic design of wet cooling towers. Part II: selection and tower characteristics," Int. J. Refrig, vol. 19, pp. 52–60, 1996.

F. Merkel, "Evaporative cooling," Journal of the Association of German Engineers, vol. 70, pp. 123-128, 1925.

M. Lemouari, M. Boumaza, and A. Kaabi, "Experimental analysis of heat and mass transfer phenomena in a direct contact evaporative cooling tower," Energy Conversion and Management, vol. 50, pp. 1610-1617, 2009.

J. C. Kloppers, (2003, Dic), "A critical evaluation and refinement of the performance prediction of wet-cooling towers," Doctoral Thesis, University of Stellenbosch.

Downloads

Additional Files

Published

2017-02-22